Toggle navigation
gat
allgemeines
autor
kontakt
impressum
programme
download`s
adobe-kurse
unterlagen
privat
klassen
AM 16a&b
AMP 5/7z
AFN 15a
spezielles
animation
prezi
antrieb
fahrwerk
motor
lernen
weblinks
(current)
Bremsenlexikon (4. Vers. gat16)
Quelle: Derendinger-Bulletin 2/85, Internet und gat.
back
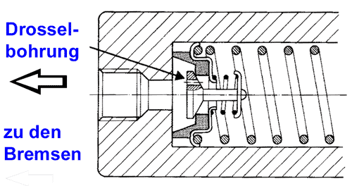
Spezialbodenventil